Фильтр сетчатый с внутренней резьбой Danfoss Y666 предназначены для установки перед балансировочными клапанами, регулирующей арматурой, расходомерами, насосами и другими устройствами с повышенными требованиями к чистоте проходящей через них воды в системах отопления, теплоснабжения, технического горячего и холодного водоснабжения, а так же для механической очистки рабочей среды от грязи, ржавчины, стружки и т. д.
По сравнению с латунными фильтрами фильтры из нержавеющей стали имеют более широкий диапазон рабочих температур и высокое рабочее давление, и могут использоваться для более широкого спектра технологических сред, не агрессивных по отношению к конструкционным материалам фильтров Y666.
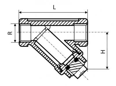
Фильтры Danfoss Y666 имеют съемную пробку для промывки сетчатого элемента и отстойника без демонтажа фильтра с трубопровода.
Монтаж:
Клапан Danfoss Y666 устанавливаться на трубопроводах так, чтобы направление стрелки на их корпусе совпадало с направлением движения воды, а сливное устройство отверстия в крышке или сливной кран были обращены вниз.
Техническая вода проходит через ячейки фильтра и очищается от механических взвесей.
Конструкция фильтра и порядок его установки предполагают заполнение отстойника фильтра
механическими взвесями.Частота слива взвесей и прочистки фильтрующего элемента (сетки) определяется из условий эксплуатации фильтра. Фильтр необходимо
очистить, если потери давления на клапане заметно выше расчетных исходя из известных значений расхода и указанных выше значений условной пропускной способности Kvs для каждого Ду.
ХАРАКТЕРИСТИКИ:
| Производитель | DANFOSS |
| Страна | Дания |
| Гарантия, лет | 1 |
| Материал | нержавеющая сталь |
| Вес, кг | 0,15-1.45 |
| Диаметр Ду (DN), мм | 8-50 |
| Пропуск. способность Kvs, м3/ч | 0,5 |
| Макс. рабочее давление, бар | 40 |
| Тмин | -10 °C |
| Тмакс | 175 °С |
| Присоединение | внутренняя резьба Rp 1/4-2 дюймы |
| Назначение использования | очистка от механических примесей |
ГАРАНТИЯ
Изготовитель/продавец гарантирует соответствие фильтров сетчатых типов Y 222, Y 222 P , Y 666 техническим требованием при соблюдении потребителем условий транспортировки, хранения и эксплуатации. Гарантийный срок эксплуатации и хранения составляет -12 месяцев с даты продажи , указанной в транспортных документах, или 18 месяцев с даты производства . Срок службы фильтров сетчатых типов Y 222, Y 222 P , Y 666 при соблюдении рабочих диапазонов согласно па спорту/инструкции по эксплуатации и проведении необходимых сервисных работ – 10 лет с даты продажи, указанной в транспортных документах .


















